How Will Stocks React to AI Jobs Displacement?

Managing Editor's Note: Next week, on Wednesday at 8 p.m. ET, Market Wizard Larry Benedict is airing his Wall Street Money Calls broadcast.
It's all to do with the opportunity tied up in the SEC-mandated phone calls where the CEOs of America's biggest companies discuss the truth about their businesses… if you know what to listen for to take advantage.
But not many folks do. That's why Larry is revealing the eight signals he listens for on these calls… Signals that suggest a stock may be on the cusp of a big move – sometimes within hours.
You can go here to automatically sign up to join him and learn about his strategy next Wednesday, February 11…

How Will Stocks React to AI Jobs Displacement?

What an absolutely chaotic week it has been.
The weak U.S. jobs report clearly showed some of the impact of artificial intelligence in hiring and in layoffs.
This latest news provides the cover needed to lower the Fed Funds rate this year. In time, lower interest rates will stimulate further investment and also institutional capital rotation into small-cap stocks.
Bitcoin and most digital assets have had a horrible week. Bitcoin is now down around $70,000, representing a fall of ~45% from all-time highs of last year.
Institutional capital has been running from digital assets this month as traditional finance is actively engaged in a fight over the ability for digital asset companies to pay a yield or rewards on digital assets. This battle has slowed down progress with the market structure bill – much-needed legislation to provide the industry clarity on digital assets.
The floor has also been falling out on many software stocks for fear of the impact of AI. Even giants like Salesforce (CRM) that have huge moats have fallen by half from their recent all-time highs.
To many, this looks and feels grim, and yet nothing has fundamentally changed about this technology-driven economic transformation that we find ourselves living through.
Case in point, Alphabet (GOOGL) just announced that its forecast for its capital expenditures for 2026 will range from $175–185 billion. Just incredible. At $185 billion, that would be more than double its 2025 capital expenditure (capex) spend, which was already at a record high.
Investment in AI is not slowing down one bit. 2026 will again be a record year.
This kind of volatility reflects the difficulties that Wall Street is having in understanding the impact of AI on sectors and individual companies. We're going to see a lot of this in 2026, along with some incredible breakthroughs that will continue to give us good reason to be optimistic.
Have a great weekend,
Jeff
How Will Stocks React to AI Jobs Displacement?
Jeff,
Recently, a thought hit me regarding stock market pricing with regard to the aftereffect of AI.
As we all know, the jobs report weighs heavily on the stock market. More jobs generally equals investors willing to buy stocks, etc…
Here is my concern…
In recent months, all I hear is "Rah Rah Rah AI this & AI that." But I've read that AI is likely to replace 75% or more [low-hanging fruit jobs], which I believe you touched base on.
My question… What happens to the S&P 500, DOW, & NYSE stock prices when unemployment numbers go through the roof due to AI creating these job losses?
Common sense based on past preference would say prices would fall drastically, yet investors are led to believe stock prices will shoot to the moon. Which is it?
– Brian M.
Hi Brian,
Your question has well encapsulated what will become a very common feeling for us all in the next few years.
It's that sense of two seemingly conflicting ideas existing at the same time. To your point, how can we have incredible advancements from AI, large amounts of job losses and unemployment, and still witness a healthy stock market?
I touched on this issue in one of my key predictions in my 2026 outlook in The Bleeding Edge – Jeff's 2026 Outlook – A Year of Surprise. Here's what I wrote that addresses your point about unemployment…
Prediction 3: The U.S. unemployment rate will increase above 5% in 2026.
The reality is that we are going to see a large impact on the U.S. workforce in 2026 due to the adoption of AI.
This will result in a rise in unemployment.
Ironically, it won't be because there aren't jobs available. It will be because of either a skills mismatch or job opportunities being in locations where the labor is not.
Higher unemployment will provide cover for lowering interest rates.
And as I mentioned above, lower interest rates will enable people to sell their homes and buy a new one closer to where the jobs are.
Some will certainly choose not to adapt or to move to where the work is. They will be the most impacted.
But for those willing to move, the quality of life and earnings potential will increase.
Lower interest rates will pull at least $1 trillion off the sidelines and put that capital to work in investments and IPOs.
And here is my prediction about economic growth as a result of artificial intelligence…
Prediction 1: At least two quarters during 2026, we'll see real GDP growth at or above 5%. And looking ahead further into 2027, we'll see real GDP growth at or above 10% in at least one quarter.
The implications of this are fairly obvious.
There will be economic opportunities everywhere for those willing to pursue them. Economic growth like this will benefit the entire country.
And the U.S. economy will materially outpace any economic growth in other developed markets. It won't even be close.
The U.S. economy and its stock markets will lead far ahead of anywhere else for three key reasons:
  1. Policy tailwinds – specifically declining interest rates – a pro-business, pro-technology regulatory environment, and strong domestic economic policy supportive of energy and reindustrialization
  2. Technological breakthroughs spearheaded by U.S.-based companies
  3. An abundance of capital ready to be invested in this once-in-a-generation technological shift
These converging factors will lead to an economic boom larger than anything any of us has seen in our lifetimes, which will extend out for the next several years.
With record levels of economic growth caused by the largest productivity gains in history, combined with increased investment and lower interest rates, the U.S. equity markets will rise as a whole. Stocks will go higher.
With all that said, there is some nuance. It won't be across the board.
Many companies will fail to adopt AI fast enough and be terribly disrupted by AI-first companies that completely reinvent a sector or industry. Companies that are slow to adapt and have a limited moat to their business will be absolutely pummeled. It will be ugly, and it will happen faster than most realize.
And other companies that move fast and aggressively implement the new technology will soar. The swings and the movement will be wild, unlike anything we've seen before.
We are already starting to see what this looks and feels like. Adobe (ADBE) is a great example. The company's share price has been cut in half in the last 12 months because of fears of AI, despite its early adoption of the technology.
Adobe is now trading at an 8.8 EV/EBITDA multiple, absolutely dirt cheap for a high-growth company with 90% gross margins and throwing off free cash flow.
Basically, any software company with a software-as-a-service (SaaS) model is getting hammered right now. And these are great companies. The carnage will be much worse for the weaker ones.
Naturally, we'll be investing heavily in the companies that will be benefiting from this once-in-history technological transformation in The Near Future Report and Exponential Tech Investor, and we'll be shorting those that will be crushed in Deep Access.

Recommended Links


image

The Most Profitable Phone Numbers in America

Right now, the CEOs of America's biggest companies are getting on the phone and revealing things that can move stocks 10%, 20%, or even 30% overnight. These calls are open to the public. With the right number, you could dial in yourself. And one former hedge fund manager has figured out how to consistently turn them into paydays of $9,400… $12,750… or even $20,065. On February 11, at 8 p.m. ET, he's showing you how. Register with a single click here.
(When you click the link, your email address will be added to the event guest list.)


image

Urgent Update On AI Bubble

Are we in an AI bubble? Should you take action quickly, before we see a crash? The time has come for answers to these serious questions. That's why we just flew in the foremost expert on AI. His answer may totally surprise you.


Gallium Nitride
I've heard of it before and looked at info on upcoming usage of Gallium Nitride in cutting-edge tech applications.
Would you have suggestions as to the top 2-3 plays in this niche but important area?
If so, maybe have done or plan to do some research in this area and make some recommendations to us subscribers?
– Gord C.
Hello Gord,
The use of Gallium Nitride (GaN) has been used in the semiconductor industry for a long time. GaN semiconductors are used for high-power applications that we typically see with electric vehicles (EVs), EV chargers, RF amplifiers that we see in wireless applications like base stations for 4G/5G and eventually 6G, as well as other high-power industrial applications.
Most major semiconductor companies have GaN product lines like NXP Semiconductors (NXPI), Texas Instruments (TXN), Infineon (IFNNY), ON Semiconductors (ON), MACOM (MTSI), ST Microelectronics (STM), Qorvo (QRVO), Navitas Semiconductor (NVTS), and others.
We have some exposure to GaN in our Near Future Report model portfolio and may very well do so in Exponential Tech Investor this year.
High-power semiconductors are a high-growth market due to the electrification trend, which will only accelerate with the adoption of autonomous cars, intelligent general-purpose robots, automated manufacturing facilities, and AI data centers.
I will definitely be publishing more research on GaN and Silicon Carbide (SiC) in the future.
Tesla's Secret Rare Earths Solution?
Is there any truth to Elon having filed a patent for a formula to replace rare earth minerals?
– Linda C.
Hi Linda,
No, that's complete nonsense. I believe that someone is falsely promoting this idea, which is unfortunate.
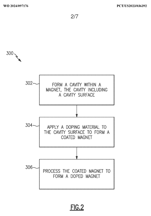
What is true is that back in October 2023, Tesla did file a patent for magnets that use a novel technique to reduce the amount of rare earth metals, like Terbium and Dysprosium, used in magnets. For anyone interested, you can find the patent here.
The image below, taken from the patent, shows Tesla's approach:
The idea is to create cavities in the magnet and apply a doping material, which is used to enhance magnetic properties.
By doing so, Tesla envisions that it can reduce the weight of rare earth metals to around 0.3–0.8% of the total weight of the magnet. For reference, today's magnets for electric motor applications tend to have a heavy rare earth metal range from 2–6% of the weight of the magnet.
Therefore, Tesla's patent could, in theory, materially reduce – but not eliminate – the use of rare earth metals in magnet production. It is not yet clear what kind of reduction in magnet performance would occur using this technology, and there is no public evidence that Tesla has actually adopted this technology in its magnet design.
Whether we like it or not, the use of rare earth metals is critical to magnet design and many advanced technologies. So critical that just two days ago, President Trump announced Project Vault, a $12 billion plan to stockpile the most important rare earth metals needed to secure U.S. supply chains for these metals.
This is an exciting sector and one that I have published research on in both The Near Future Report and in Exponential Tech Investor.
2026 will be a big year for the commodities sector as this renewed AI infrastructure boom and reshoring of manufacturing continue at a record pace.
Thank you for writing in,
Jeff

Recent Articles
Feb 5, 2026 • 4 min read
Feb 4, 2026 • 6 min read
Feb 3, 2026 • 6 min read

1125 N Charles St, Baltimore, MD 21201
www.brownstoneresearch.com

To ensure our emails continue reaching your inbox, please add our email address to your address book.

This editorial email containing advertisements was sent to penunggangbadai.moneyblog@blogger.com because you subscribed to this service. To stop receiving these emails, click here.

Brownstone Research welcomes your feedback and questions. But please note: The law prohibits us from giving personalized advice.

To contact Customer Service, call toll free Domestic/International: 1-888-512-0726, Mon-Fri, 9am-7pm ET, or email us here.

© 2026 Brownstone Research. All rights reserved. Any reproduction, copying, or redistribution of our content, in whole or in part, is prohibited without written permission from Brownstone Research.

Subscribe to receive free email updates:

0 Response to "How Will Stocks React to AI Jobs Displacement?"

Post a Comment